Методическое пособие по определению частот собственных колебаний узлов и деталей

  


   В настоящем методическом пособии приведены сведения о частотах и формах колебаний деталей, а также наиболее распространённые методы экспериментального определения частот собственных колебаний (ЧСК) деталей и конструкций. Пособие не ставит своей целью изложить всё многообразие методов и средств, применяемых при исследовании механических частотных характеристик. При составлении методики предполагалось предварительное знание работниками основных сведений по теории колебаний и правил проведения измерений с помощью стандартных измерительных средств.

 

1.     Основные сведения о частотных характеристиках (ЧСК) деталей.

 

  Каждая деталь имеет бесконечное количество ЧСК, образующих спектр. Каждой частоте собственных колебаний соответствует своя форма колебаний. Форма колебаний определяется картиной знакопеременных смещений или прогибов и положением узловых линий. В узловых линиях перемещения бесконечно малы и считаются нулевыми. По разные стороны узловых линий смещения колеблющихся участков находятся в противофазе. Совокупность форм колебаний детали образуют спектр форм. Способ крепления детали изменяет спектр частот и форм колебаний. Существуют  методы расчёта частот и форм собственных колебаний деталей.

 Расчётная формула для определения частот изгибных колебаний балок имеет следующий вид:

f = α2/2π l2 *√EI/m,

где l – длина балки, EI – жёсткость балки на изгиб, m - погонная масса балки,

α - расчётный коэффициент.

Ниже (рис. 1-3) приведены формы изгибных колебаний балки при различных способах крепления. Значения ЧСК одной и той же балки при различных способах крепления и различных формах зависят только от α2. Значения α2 приведены на рисунках. По ним нетрудно видеть, как изменятся собственные частоты, в зависимости от способа крепления и формы колебаний.

 

 

α2 = 3,515             α2 = 22,037         α2 = 61,68               α2 = 120,907         α2 = 199,85

Консольная балка.

 Рис.1

 

 

 

α2 = 9,869             α2 =39,478            α2 = 88,826           α2 = 157, 91           α2 = 246,738

Балка с опертыми концами.

Рис.2

 

 

α2 = 22,37            α2 = 61,67           α2 = 120,912          α2 = 199,855            α2 = 298,55

Свободная балка.

Рис.3

 

  В таблице 1 представлен спектр рисунков узловых линий эталонной пластинки при изгибных формах колебаний, а в таблице 2 аналогичный спектр осесимметричного диска.

  Значения ЧСК соответствующим формам возрастают в рядах, как по горизонтали, так и по вертикали. В таблицах значения m и n определяют число узловых линий проходящих через оси симметрии.

 Направления прогибов, представленных в таблице 1, перпендикулярны плоскости пластины. Наряду с этим имеются формы колебаний, у которых направления прогибов лежат в плоскости пластин. Однако в этом случае собственные частоты из-за высокой жёсткости настолько велики, что они не имеют практической значимости.


 Таблица 1.

 

 

Таблица 2.

 

 

Представленные выше формы колебаний характерны для плоских деталей. Реальные детали, как правило, имеют более сложную геометрию. Поэтому и формы колебаний у реальных деталей более сложны.

   Знание ЧСК позволяет конструкторам избежать условий работы конструкции на длительных эксплутационных режимах при частотах, близких резонансным. Изменение спектра ЧСК конструкции может служить в качестве признака появления и развития дефекта. При исследовании разрабатываемых деталей газотурбинной техники иногда используются методы определения форм колебаний с помощью голографической интерферометрии, которые позволяют выявлять сложные формы колебаний в широком диапазоне частот. В данном пособии этот метод не рассматривается, так как он не применяется в практике производства и ремонта.

   В практике ремонтных предприятий используется контроль ЧСК лопаток газотурбинных двигателей (ГТД) с целью проверки их соответствия техническим условиям. При ремонте турбин чаще всего контролируется первая форма колебаний. При производстве иногда контролируются частоты и формы в более  широком диапазоне

 

 

2.     Методы и средства измерения ЧСК.

 

2.1   Метод измерения ЧСК с использованием вибровозбудителя колебаний переменной частоты.

 

 

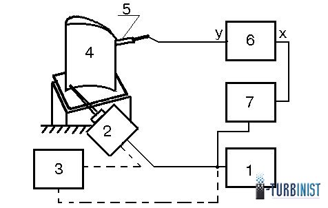
  Метод поясняется с помощью блок-схемы, приведенной ниже на рис.4.

С генератора 1 напряжение переменной частоты подаётся на вибровозбудитель 2 (при необходимости использования вибровозбудителя большой мощности используется усилитель мощности 3). Возбуждаемые колебания детали 4 воспринимаются пьезодатчиком (или щупом с датчиком) 5. Сигнал с датчика поступает на вход "У" осциллографа 6. На вход "Х" осциллографа через нормирующий делитель 7 подаётся напряжение с генератора.

  При наличии сигнала с датчика с частотой возбуждения на экране осциллографа будет регистрироваться эллипс. Если частота возбуждения, регистрируемая датчиком, будет отлична от частоты генератора, то на экране будет регистрироваться фигура, отличная от эллипса. Плавным изменением частоты генератора находится резонансная частота по максимальному значению сигнала, поступающего с датчика на вход "У". По шкале частоты генератора фиксируется значение резонансной частоты, соответствующее собственной частоте. С помощью данного метода можно определить резонансные частоты в широком диапазоне частот.

 

 

 

 

Блок-схема измерения ЧСК с использованием вибровозбудителя колебаний переменной частоты.

1 – генератор переменной частоты, 2 – вибровозбудитель, 3 – усилитель мощности, 4 – деталь, 5 – пьезодатчик, 6 – осциллограф, 7 – делитель.

Рис.4.

 

   Схема рис.4 используется также для определения форм колебаний. Для этого фиксируется положение вибровозбудителя, а щуп перемещается по детали. На узловой линии амплитуда сигнала с датчика, поступающего на вход "У", будет падать до 0, а при её пересечении фаза изменится на 180°. Изменение фазы контролируется по наклону эллипса на экране осциллографа. Сканируя щупом поверхность детали, можно нарисовать картину узловых линий. При консольном защемлении детали и возбуждении на низшей частоте узловая линия находится в заделке и смена фазы при сканировании поверхности детали не происходит.  Следует отметить, что если для данной формы колебаний возбуждение будет осуществляться через узел колебаний, то колебания не будут возбуждаться и эта форма останется незамеченной.

  Аналогичным образом можно определять картину узловых линий, если закрепить пьезодатчик и сканировать вибровозбудителем поверхность детали. Однако если присоединённая масса вибровозбудителя будет соизмерима с массой детали, то картина будет искажена.

 

 

2.2  Метод измерения ЧСК с использованием ударного возбуждения.

 

  Схема реализации этого метода приведена ниже на рис.5.

По данной схеме возбуждение детали 1 осуществляется молотком 2 с мягким наконечником. Колебания регистрируются с помощью акселерометра 3, подключённому на вход виброанализатора 4.

 

 


Схема измерения ЧСК с использованием ударного возбуждения.

1 – деталь, 2 – молоток с мягким наконечником, 3 – акселерометр,

4 – виброанализатор типа "Агат", "Кварц".

Рис.5.

 

  Современные анализаторы имеют функцию измерения ЧСК ударным методом. Из отечественных приборов такого класса наибольшее распространение получили виброанализаторы типа "Агат", "Кварц" фирмы "Диамех", в которых реализуется такая функция. Порядок работы с помощью данной функции приведён в техническом описании используемого анализатора. Такой метод эффективен и при определении резонансных свойств опорных конструкций агрегатов. Снятие ЧСК с помощью акселерометра и анализатора при ударном возбуждении лучше производить в режиме измерения ускорения, а не скорости и смещения. В режиме  измерения скорости и смещения осуществляется одно или двукратное интегрирование. Затухающий процесс имеет широкий частотный спектр, который может выйти за область интегрирования. Это может привести к недостоверным результатам.

 

 

3.     Устройства для зажима рабочих лопаток ГТД при  контроле ЧСК в технологической оснастке.

 

    3.1 Требования к устройствам для зажима лопаток.

 

  Точность измерительных средств, как правило, на два порядка выше, чем требуемая точность измерения ЧСК. Поэтому достоверность результатов контроля преимущественно определяется способом и устройствами для закрепления лопаток. Для достоверности было бы правильнее контролировать частоты при реальном защемлении в роторе.  Но контроль  ЧСК рабочих лопаток турбины после установки в диск выполнить нельзя, ввиду наличия качки в замках. Их защемление в замках обеспечивается при работе под действием центробежных сил. Контроль ЧСК рабочих лопаток компрессора хотя и производится в составе ротора, но всё равно приходится проводить контроль частот лопаток до их установки, так как установка лопаток с исходно несоответствующими ТУ частотами может привести к неоправданным затратам.

Поэтому возникает необходимость проводить контроль ЧСК рабочих лопаток турбины и компрессора ГТД с применением технологической оснастки. Для этого необходимо выбрать такую оснастку, чтобы её применение не привело к изменению частотного спектра. При этом должна обеспечиваться стабильность показаний при многократных измерениях. Это возможно, если будут обеспечены достаточная жёсткость зажимных элементов, равномерное защемление замков лопаток, достаточность и стабильность усилия зажима. Масса самого приспособления должна быть, по крайней мере, на порядок больше массы контролируемой лопатки.

  Следует также отметить, что в некоторых случаях имеет значение степень демпфирования колебаний. С этой точки зрения количество сопрягаемых элементов приспособления должно быть минимизировано. При использовании гидравлических приспособлений зазоры между поршнем и цилиндром должны быть максимально допустимыми, для исключения демпфирования при контакте. Размеры замков должны быть такими, чтобы обеспечивался минимальный ход поршня при защемлении лопатки. Минимум объёма масла под поршнем обеспечивает минимум демпфирования колебаний.

  Исходя из этих принципов, разрабатываются технологические устройства для контроля ЧСК лопаток.

 

 

  3.2  Конструкция и принцип работы оснастки, используемой при контроле ЧСК рабочих лопаток ГТД.

 

 

  Зажимные элементы для хвостовиков лопаток, как правило, изготавливаются индивидуально под каждую ступень. Наряду с этим в практике используется универсальное замковое устройство (патент RU 2189023 C2), которое обеспечивает стабильность защемления хвостовиков лопаток всех типов. Зажимные элементы этого замкового устройства самоустанавливаются по плоскости защемляемых поверхностей лопатки за счёт поворота прижимных элементов, выполненных в виде отрезков цилиндров.

  Ниже на рис. 6 приведена схема приспособления, которое используется для контроля ЧСК лопаток ГТД. В нём лопатка 1 устанавливается между зажимными элементами 2, которые помещаются в гидравлическое приспособление 3. Шток с поршнем 3.1 при подаче на него давления масла защемляет зажимными элементами лопатку. При сбросе давления масла пружина 3.2 возвращает поршень в исходное положение. Рабочее давление масла создаётся с помощью пресса 4. Вентиль 4.1 пресса служит для подачи масла в пресс. Вентиль 4.2 перекрывает или открывает магистраль между прессом и гидравлическим

приспособлением. Давление регулируется рукояткой 4.3 поршня пресса. Контроль давления осуществляется с помощью манометра 4.4.

 
   

Схема приспособления для зажима рабочих лопаток ГТД при контроле ЧСК.

Рис.6

 

  Для зажима лопатки в приспособлении необходимо:

-         установить лопатку 1 между зажимными элементами 2  гидравлического приспособления 3;

-         закрыть вентиль 4.1 пресса 4;

-         открыть вентиль 4.2 пресса;

-         подать рабочее давление в цилиндр гидравлического приспособления с помощью рукоятки 4.3 поршня пресса;

-         контроль давления осуществлять с помощью манометра 4.4,

-         закрыть вентиль 4.2 пресса.

  Для раскрепления лопатки  и приведения приспособления в исходное состояние необходимо:

-         открыть вентили 4.1 и 4.2 пресса;

-         вынуть лопатку 1 из приспособления;

-         установить поршень 4.3 пресса в крайнее левое положение.

 

 

4.     Меры безопасности при производстве работ.

 

1.1  Работы по определению ЧСК являются составной частью работ по дефектоскопии деталей и узлов ГПА, поэтому при проведении работ следует руководствоваться "Инструкцией по охране труда при проведении работ по дефектоскопии ГПА".

1.2  К работе допускаются лица, изучившие правила эксплуатации приборов используемых при работе.

 

5.     Подготовительные работы.

 

5.1.   Проверить, чтобы детали и узлы, подлежащие контролю, были очищены от грязи, пыли и имели сопроводительную документацию установленного образца.

5.2.   Подготовить рабочее место таким образом, чтобы не было мешающих факторов  и обеспечивался безопасный доступ к рабочей зоне.

5.3.   Подготовить бланки протоколов для проверяемых узлов или деталей.

5.4.   Собрать измерительную схему  согласно техническому описанию.

5.5.   Включить измерительный прибор.

 

6. Производство работ.

 

6.1.   Измерение частот собственных колебаний лопаток ГТД в составе ротора с использованием ударного возбуждения.

6.1.1    Установить на приборе необходимый режим для проведения измерений с помощью ударного возбуждения согласно инструкции по эксплуатации.

6.1.2    Установить на приборе диапазон измерения частот, в котором лежат ЧСК лопаток данной ступени.

6.1.3    Установить акселерометр используемого измерительного прибора на ротор вблизи лопатки, у которой измеряется собственная частота.

6.1.4    Переключить прибор на режим ожидания удара.

6.1.5    Нанести молотком с резиновым наконечником лёгкий удар по лопатке.

6.1.6    Произвести отсчёт измеренной частоты прибором и записать в протокол.

6.1.7    Последовательно произвести измерения ЧСК всех лопаток данной ступени, повторяя  операции п.п. 6.1.3 – 6.1.6.

6.1.8    При необходимости произвести измерения ЧСК лопаток других ступеней повторить операции п.п. 6.1.2 – 6.1.7.

6.2.   Измерение частот собственных колебаний рабочих лопаток ГТД при закреплении в технологическом приспособлении (см. рис.6).

6.2.1      Подготовить приспособление, используя рекомендации п.3.2, к работе.

6.2.2      Установить на приборе необходимый режим для проведения измерений с помощью ударного возбуждения.

6.2.3      Установить на приборе диапазон измерения частот, в котором лежат ЧСК лопаток данного типа.

6.2.4      Установить акселерометр используемого измерительного прибора на приспособление.

6.2.5      Произвести эталонирование усилия зажатия лопатки данного типа, для этого необходимо выполнить следующие операции.

6.2.5.1         Произвести зажим эталонной лопатки для партии лопаток, подлежащей контролю согласно указаниям п.3.2.

6.2.5.2         Переключить прибор на режим ожидания удара.

6.2.5.3         Нанести молотком с резиновым наконечником лёгкий удар по лопатке.

6.2.5.4         Произвести отсчёт измеренной частоты прибором.

6.2.5.5         Сравнить полученные данные с эталонной частотой. При совпадении   измеренной частоты с частотой эталона записать давление масла по манометру.

6.2.5.6         При несовпадении измеренной частоты с эталоном, изменяя давление масла производить измерение частоты. Усилие зажима, контролируемое манометром, при котором измеренная частота совпадёт с эталоном, в дальнейшем устанавливается таким же для контроля данного типа лопаток.

6.2.5.7         Раскрепить лопатку согласно указаниям п. 3.2.

6.2.5.8         Повторить зажим эталонной лопатки.

6.2.5.9         Повторить операции  п.п. 6.2.5.1 – 6.2.5.4.

6.2.5.10     Эталонирование считается законченным, если при перезакреплении эталонной лопатки с одним и тем же усилием зажима собственная частота останется неизменной и будет соответствовать частоте эталона.

6.2.5.11    По окончании эталонирования раскрепить лопатку.

6.2.6      Закрепить в приспособлении лопатку, у которой предстоит измерить собственную частоту с определённым при эталонировании усилием.

6.2.7      Выполнить операции п.п. 6.2.5.2 – 6.2.5.4.

6.2.8      Записать измеренную частоту в протокол.

6.2.9      Раскрепить лопатку.

6.2.10 Для измерения частот следующих лопаток данной партии повторить операции п.п. 6.2.6 – 6.2.9.

 

 

7.     Заключительные работы.

 

7.1    Отключить аппаратуру согласно инструкции по эксплуатации.

7.2    Отсоединить электрические кабели и убрать на место хранения, если  возобновление работ не предполагается.

7.3    Заполнить протокол определения ЧСК исследуемого комплекта лопаток в 2-х экземплярах. Один экземпляр протокола подшить в дело, другой подшивается к паспорту (формуляру) данной партии лопаток.

 

 Источники информации, принятые во внимание при составлении методического пособия по определению частот собственных колебаний узлов и деталей.

 

  1. Ананьев И.В., Тимофеев П.Г. Колебания упругих систем в авиационных конструкциях и их демпфирование. Машиностроение  1965г.
  2. Иванов В.П. Колебания рабочих колёс турбомашин. М. Машиностроение 1983г.
  3. Ковалёв В.К., Россеев Н.И., Монахов А.В. Замковое устройство.

    Патент RU  2189023  C2

 

Автор: Ковалёв В.К. ДОАО «Центрэнергогаз» филиал «Самарский»

 

 
 
 

ОТКРЫТЬ ДОСТУП К ФАЙЛАМ

ЧТО ПОЛУЧИТЕ СРАЗУ:
Этот файл (Методическое пособие по определению частот собственных колебаний узлов и деталей) + библиотека из 900+ уникальных документов по турбинам
ТАРИФЫ НА ВЫБОР:
1 день 5 дней 1 месяц 6 месяцев 1 год НАВСЕГДА
От 195₽/день до 4990₽/навсегда

ВНИМАНИЕ: Данная информация получена путем сканирования, цифровой обработки физических носителей или обмена с неравнодушными пользователями. Она не имеет отметок грифа секретности и тайны, если вы считаете, что эта информация нарушает Ваши авторские или другие права. Незамедлительно сообщите администратору для удаления ее из портала.

🏷️ Ключевые метки

Обсуждаем турбины в Telegram-канале — присоединяйтесь к 1,234 специалистам!

💬 Обсуждение (4)

🕛 Последний комментарий: 2-05-2010, 00:34

Есть вопросы или опыт работы с этим оборудованием? Делитесь в комментариях или пишите в Telegram

  1. Рубен 22 сентября 2013 23:14
    Спасибо, интересная статья! Но хотелось бы поподробнее о методах определения формы колебания, соответствующей собственной частоте. Так как водя щупом по поверхности образца в поисках узловых линий(как это описывается в статье), неясно как получать изображение исследуемой формы.
  2. Jek 25 сентября 2013 00:21
    Цитата: Рубен
    Спасибо, интересная статья! Но хотелось бы поподробнее о методах определения формы колебания, соответствующей собственной частоте. Так как водя щупом по поверхности образца в поисках узловых линий(как это описывается в статье), неясно как получать изображение исследуемой формы.


    Получить формы колебаний,и распределение напряжений (то что требуют нормативные документы при проэктировании турбиных лопаток), можно получить при помощи тензодатчиков, которые предварительно клеятся на лопатку. И которые записываюся на иформационно вычислительные комплексы (ИВК) типа MIC 300, или другие многоканальные ИВК.
  3. Jek 4 октября 2013 04:17
    Можно получить вид формы при помощи Голографии.
  4. david 19 августа 2020 12:04
    Здравствуйте, вас учили в школе в формулах скобки ставить где надо?

Оставьте комментарий

Поделитесь своим опытом, задайте вопрос или дополните материал

× Увеличенное изображение