Стабильность поставок газа и безопасность эксплуатации МГ сегодня важнейшие задачи, но по мере развития системы газопроводов и роста цен на газ и электроэнергию становится актуальным вопрос оптимизации затрат на транспорт газа.
Опишем с позиции необходимых затрат схематично процесс транспортировки природного газа по МГ. По газопроводу диаметром Dг течёт природный газ в количестве с максимальным после КС давлением рг. Через каждые ΔL длины газопровода установлены КС, перед которыми давление газа меньше, чем после предыдущей КС, на величину Δрг. Для дальнейшей транспортировки газ необходимо компримировать в газоперекачивающих агрегатах (ГПА), для чего необходимо сжечь некоторое количество газа При компримировании температура транспортируемого газа повысится с начальной Тг перед ГПА до величины Тгвх на входе в АВО. После АВО газа его температура понизится до Тгвых, и эта величина зависит от температуры окружающего воздуха Твоз и температурного КПД АВО (ПАВО) для данного расхода газа:
Для обеспечения этого теплосъёма необходимо использовать некоторое количество АВО - nАВО и затратить n·АВО-Кэл электроэнергии, где NOT -количество электроэнергии, потребляемой одним АВО газа. Охлаждаемый в АВО природный газ продолжает охлаждаться в газопроводе как за счёт эффекта дросселирования, так и за счёт теплообмена с окружающим грунтом.
Снижение температуры природного газа после ГПА обязательно приводить при температуре Тгвх выше 45°С из-за возможного оплавления изоляции газопровода. При Тгвх менее 45°С снижение температуры газа целесообразно по той причине, что горячий газ менее плотен, и при постоянном массовом расходе скорость его течения выше, чем у охлажденного газа. Более высокая скорость течения природного газа по газопроводу приводит к более высоким потерям давления Δрг. Чем выше Тгвых, тем более ограничена пропуская способность газопровода, когда предельные мощности ГПА как раз обеспечивают компенсацию потерь давления газа.
В таблице 1 в качестве примера приведены характерные режимы работы линейных КС для наиболее распространенного типа газопроводов с давлением рг = 7,5 МПа.
Учитывая, что при сгорании 1 тыс.нм3 газа выделяется 33,5·109 Дж энергии, получим, что большая часть затрат на транспортировку газа приходится на работу ГПА.
Снизить затраты на транспортировку газа можно тремя путями:
В этой работе совершенствование отдельных ГПА и АВО ([2]) не рассматривается, а рассматривается вопрос их сбалансированной работы.
Итак, если использование АВО газа необязательно при Тгвх меньше 45°С, то оно может быть целесообразным, потому что снижение Тгвых уменьшает потери давления Δрг и тем самым снижает на ней расход газа gr- на работу ГПА. За эту экономию надо заплатить расходом электроэнергии на работу АВО газа. Таким образом, с одной стороны, мы имеем экономию топливного газа, а с другой стороны, - затраты электроэнергии на АВО. Чтобы провести количественное сравнение этих двух факторов, необходимо в каждый конкретный момент времени сопоставлять технические характеристики оборудования, температуру воздуха, цены на газ и электроэнергию, а также зависимость потерь давления Δрг от расхода и температуры природного газа на входе в участок газопровода.
Наиболее подробно процесс течения природного газа в газопроводе описан в монографии [1]. Из результатов этой работы следует, что величина потерь давления Δрг зависит от большого количества изменяющихся с течением времени факторов: температуры, пористости и влажности грунта, шероховатости внутренней поверхности трубы, близости участка газопровода к другим ниткам, к поверхности, наличия снежного покрова и солнечного излучения, свойств изоляции газопровода, температуры воздуха и, в том числе, от температуры, расхода и давления природного газа на входе в участок газопровода. Расчётное моделирование, проведенное нами, показало, что для условий, приведенных в таблице 1, снижение Тгвых на 10°С уменьшает Арг на 0,10 - 0,15 МПа, что, в свою очередь, экономит 6 - 9% топливного газа на следующей КС. Безусловно, проведённое расчётное моделирование носит оценочный характер. Для уточнения полученных расчётов необходимы данные экспериментов, проведение которых запланировано в ближайший год.
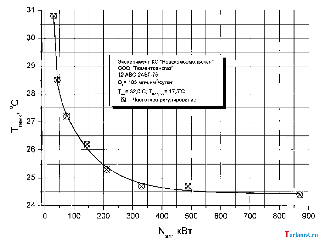
Для оценки влияния энергозатрат блока АВО на Тгвых вплоть до последнего времени не было экспериментальных данных. Первые результаты были получены в сентябре 2005 г. на КС «Новокомсомольская» ООО «Тюментрансгаз».
В частности, из поведения зависимости на Рис. 1 видно, что снижение температуры газа на начальном участке кривой охлаждения достаточно эффективно, а на конечном участке слабо эффективно. Так, на снижение температуры природного газа на 1°С (25,3°С до 24,3°С) требуется увеличить потребляемую блоком АВО газа мощность на 650 кВт.
Другой аспект полученных данных состоит в том, что данная конфигурация блока АВО газа в настоящих экономических условиях неэффективна, и использование для существующей теплообменной поверхности таких мощных электроприводов нецелесообразно. В этом случае желательно бы снизить энергопотребление NOT каждого АВО и сэкономленные средства направить на увеличение количества АВО.
В идеале такие данные необходимы по каждой станции вместе с характеристиками участков МГ, чтобы, сопоставляя их и закладывая цену на газ и электроэнергию, можно было выбрать режим оптимальной работы в каждый момент времени. Для этого надо сделать теплотехническую паспортизацию блоков АВО и участков МГ.
При паспортизации блоков АВО необходимо сравнивать их параметры с эталонными характеристиками АВО. Ведь существует целый ряд причин неудовлетворительной работы АВО: засорение трубного пучка и межтрубного пространства, низкое качество вентилятора, плохое состояние электропривода и т.д. При проверке состояния блока АВО эти недостатки желательно выявить, для чего и необходимо отмеченное выше сравнение с эталоном.
Дать эталонные характеристики АВО могут только стендовые испытания, а поскольку натурные испытания АВО пока не проводятся из-за дороговизны их организации, построены специальные стенды.
Они позволяют получать реальные аэродинамические и теплотехнические характеристики трубных пучков и вентиляторов АВО газа (Рис. 2 - Рис. 6). Используя полученные на этих стендах данные и их компьютерную обработку, сейчас можно моделировать параметры теплообменных блоков АВО КС любой геометрии.
В качестве примера приведём некоторые результаты испытаний на экспериментальной базе ЗАО «Гидроаэроцентр».
На Рис. 7 показано сравнение экспериментальных данных и расчета с использованием критериальных уравнений, полученных ЦКТИ [3]. Испытания проводились для шахматного трубного пучка оребренных труб аналогичного АВГ-85МГ. Шаг укладки 69 мм. Условный коэффициент оребрения 20. Маркерами обозначены экспериментальные данные, а сплошной линией - результаты расчета. Видно, что расчетный коэффициент теплоотдачи а от оребрения к воздушному потоку не всегда удовлетворительно совпадает с экспериментом.
На Рис. 8 представлено сравнение экспериментальных и расчетных зависимостей от скорости воздушного потока в канале стенда. Результаты испытаний для шахматного трубного пучка с шагом укладки 69 мм в 1,5 - 2 раза меньше, чем расчет по формулам ЦКТИ. Использование общепринятых расчетных формул при проектировании АВО типа АВГ-85МГ привело бы к существенному завышению электрической мощности, требуемой на привод рабочих колес вентиляторов.
На Рис. 9 показаны результаты испытаний вентилятора ГАЦ-12,5-6 на стенде для определения аэродинамических характеристик. Также представлены результаты расчетов по упрощенной методике. Видно, что расчет качественно верно описывает результаты испытаний на безотрывных режимах обтекания. Проблема заключается в том, что диапазон безотрывной работы реального вентилятора достаточно узок, поэтому наиболее надежные результаты можно получить экспериментальным путем.
В основе математических моделей, которые в настоящее время используются при расчете АВО, лежат эмпирические зависимости -критериальные уравнения. Основным недостатком таких моделей является их узкая настроенность на экспериментальные данные, используемые автором при построении расчетной методики. Необходимо понимать, что характеристики натурных моделей реальных трубных пучков, используемых в настоящее время в АВО, никто не определял. Поэтому при проектировании новых и оценке эффективности работы имеющихся АВО, необходимо опираться не только на известные эмпирические зависимости, но и выполнять систематические экспериментальные исследования реальных трубных пучков на специальных стендах.
Основываясь на результатах стендовых испытаний и измерений параметров реальных блоков АВО, при проектировании новых и модернизации существующих КС с заменой АВО возможен экономический подход к формированию облика блока охлаждения газа с учётом минимизации затрат в процессе 20-30-й летней эксплуатации. В одной из следующих работ мы опубликуем результаты, полученные при реализации такого подхода.
Авторы: Алимов С.В., ООО «Тюментрансгаз» Зайцев Е.Г., ЗАО «Гидроаэроцентр» Кубаров С.В., Управление по транспортировке газа и газового конденсата, ОАО «Газпром»
Список литературы
- Кривошеин Б.Л. Теплофизические расчеты газопроводов. - М.: Недра, 1982.
- Алимов С.В., Лифанов В.А., Миатов О.Л. Аппараты воздушного охлаждения газа: опыт эксплуатации и пути совершенствования//Газовая промышленность. - 2006. - № 6. - С. 54 -57.
- Юдин В.Ф. Теплообмен поперечно-оребренных труб. - Л.: Машиностроение, 1982.
Приобретение доступа к файлам
ВНИМАНИЕ: Данная информация получена путем сканирования, цифровой обработки физических носителей или обмена с неравнодушными пользователями. Она не имеет отметок грифа секретности и тайны, если вы считаете, что эта информация нарушает Ваши авторские или другие права. Незамедлительно сообщите администратору для удаления ее из портала.
